1. 서 론
2. 1g 진동대 모형실험
2.1 1g 진동대 모형실험
2.2 말뚝의 휨모멘트 및 동적 p-y 곡선 산정
3. 실험결과 및 분석
3.1 상대밀도에 따른 지반-말뚝-상부구조물 상호작용
3.2 상대밀도에 따른 말뚝의 휨모멘트 거동
3.3 상대밀도에 따른 말뚝의 동적 p-y 거동
4. 결 론
1. 서 론
국내외 건설되는 도로, 철도, 공항 및 항만 등과 같은 사회기반시설을 대표하는 대형구조물들은 보편적으로 단단한 지지층까지 구조물의 하중을 전달할 수 있는 말뚝기초가 많이 사용되고 있다. 말뚝기초는 상부구조물로부터 전달되는 연직 하중을 안전하게 지지할 뿐만 아니라 토압, 풍압, 파력, 온도, 지진 등에 의한 수평 하중을 지지하는 저항체로서의 역할까지 고려되어야 한다.
말뚝기초에 큰 수평 하중을 발생시키는 주요 요인 중 하나인 지진은 상부구조물뿐만 아니라 말뚝의 안정에도 영향을 미치게 된다. 지진 시 상부구조물을 지지하는 말뚝기초에 가해지는 수평 하중은 상부구조물의 운동에 의한 관성력과 지반의 변형 및 운동에 의한 운동력으로 구분할 수 있다. 상부구조물의 관성력과 지반의 운동력은 서로 다른 복잡한 메커니즘을 통해 말뚝기초에 피해를 입힐 수 있기 때문에 지반-말뚝-구조물의 상호작용을 적절히 예측하고 평가하는 것이 말뚝기초의 안전한 내진설계를 위해 필요하다. 특히, 최근까지 국내에서 크고 작은 지진이 지속적으로 발생하고 있어 국민의 안전한 생활과 생명, 재산을 보호하기 위한 내진설계의 중요성이 더욱 강조되고 있는 실정이다.
지반-말뚝-구조물의 상호작용은 구조물의 동적특성, 말뚝의 길이, 두부 경계조건 및 지반의 상대밀도에 영향을 받는 것으로 확인되었다(Kwon & Yoo, 2016). 지반-말뚝-구조물의 상호작용은 정적 또는 동적 하중 실험 결과를 근거로 제시한 p-y 곡선이 사용되고 있다. 지반의 상대밀도가 달라지면 그에 따른 구속압 및 지반 강성이 변화하며 결과적으로 지반반력계수도 각 시스템에 따라 달라지게 된다(Hardin & Brnevich, 1972).
Long & Vanneste(1994)는 수평방향 반복하중이 다양한 상대밀도의 모래지반에 설치된 말뚝기초에 미치는 영향을 평가하였으며, 그 결과 말뚝기초에 수평 방향 반복하중이 재하되면 p-y 곡선에 활용되는 초기지반반력계수와 극한지반반력이 감소되는 것을 확인하였다. Leblanc et al.(2010)와 Nicolai & Ibsen(2014)은 1g 모형말뚝시험을 통해 장기적인 수평방향 반복하중이 모래 지반에 설치된 말뚝기초의 지지거동에 미치는 영향을 평가하였으며, 그 결과 Long & Vanneste(1994)의 연구와는 반대로 수평방향 반복하중이 말뚝기초 주변 지반의 저항력을 증가시켜 말뚝기초 두부에서 평가되는 하중-변위 곡선의 초기강성을 증가시키는 것으로 확인되었다. 이와 같이 모래지반에 설치된 말뚝기초에 작용하는 수평방향 반복하중은 말뚝기초 주변 지반의 저항력을 증가 또는 감소시키게 되며, 그 결과 말뚝기초의 수평방향 지지거동 및 극한지지력은 수평방향 하중조건 및 모래지반의 상대밀도에 따라 다르게 나타난다. 따라서 수평방향 하중조건 및 모래지반의 상대밀도가 말뚝기초의 수평방향 지지거동 및 지지력에 미치는 영향을 정량적으로 평가하여 설계에 반영하기 위한 연구가 필요하다.
Kwon & Yoo(2016)은 상대밀도가 지반-말뚝-구조물 시스템의 동적거동에 미치는 영향을 평가하기 위해 수치해석을 수행하였으나, 지반의 운동력의 효과가 상대적으로 미비하여 상대밀도 차이에도 불구하고 말뚝기초의 거동에 미치는 영향은 미비한 것으로 확인하였다. 그러나 상대밀도 차이에 의한 지반반력계수의 정량적인 변화와 그에 따른 지반-말뚝-구조물의 상호작용에 대한 정량적인 연구의 필요성을 제시하였다.
이에 본 연구에서는 건조된 모래지반의 상대밀도가 상부구조물을 지지하는 무리말뚝의 동적거동에 미치는 영향을 확인하기 위해 1g 진동대 모형실험을 수행하였다.
2. 1g 진동대 모형실험
2.1 1g 진동대 모형실험
건조된 모래지반의 상대밀도 변화가 상부구조물을 지지하는 무리말뚝의 동적거동에 미치는 영향을 확인하기 위해 1g 진동대 모형실험은 Fig. 1과 같은 진동대 모형실험장치를 이용하였다. 상대밀도가 다른 모래지반을 조성하기 위한 모델박스는 지반의 분리 거동과 모델박스 벽면에서 발생되는 반사파를 방지하기 위해 9개의 단일 구조와 스피링으로 조합된 적층 구조를 갖는 모델박스를 사용하였으며, 모델박스의 내부 크기는 폭 50cm, 길이 50cm, 높이 45cm이다.
모형실험의 상사비는 모형토조 및 실험 재료의 한계로 말뚝 지름에 대한 상사비를 충족하지 못하지만 수평방향 지지력에 대한 말뚝의 휨강성이 중요하므로 휨강성에 대한 상사법칙을 고려하였다(Iai & Sugano, 1999). 모형실험에 사용한 상사비는 모형말뚝의 휨강성을 고려하여 39.2의 상사비로 결정하여 모형실험에 적용하였다.
지반-말뚝-구조물을 구성하는 모형지반은 통일분류법에 의해 SP로 분류되는 Table 1과 같은 물리적 특성을 갖는 주문진 표준사를 사용하여 조성하였다. 모래지반의 상대밀도는 주문진 표준사의 최대건조단위중량과 최소건조단위중량을 고려하여 모형지반의 단위중량이 Table 2와 같이 조성되도록 모형토조의 높이를 고려하여 10회에 균등하게 구분하여 정적다짐을 수행하였으며, 상대밀도가 80%, 60%, 40%가 되도록 모형지반을 조성하였다.
Table 1.
Jumunjin standard sand
| Classification | Value |
| D10 (mm) | 0.32 |
| Cu | 1.65 |
| Cs | 1.43 |
| γdmax (kN/m3) | 16.66 |
| γdmax (kN/m3) | 13.33 |
| USCS | SP |
Table 2.
Relative density used in test
| Classificatiosn | Dry unit weight (kN/m3) |
| 80% | 15.87 |
| 60% | 15.15 |
| 40% | 14.49 |
무리말뚝은 기성 콘크리트 말뚝을 적용하였으며, 말뚝 중심간격은 3D, 말뚝의 배열은 3×3 정방향인 무리말뚝을 원형으로 상사비를 고려하여 Fig. 2(a)와 같이 모형무리말뚝을 제작하여 모형실험에 적용하였다. 말뚝은 외경 12mm, 두께 2mm인 중공형 알루미늄관을 사용하였으며, 말뚝 캡은 강체거동을 위해 알루미늄판을 재료로 사용하였다. 상부구조물과 말뚝캡의 연결 및 말뚝 캡과 말뚝의 연결은 강결조건으로 말뚝-말뚝캡-상부구조물을 연결하여 모형실험에 적용하였다. 지반-말뚝-구조물 상호작용은 구조물의 동적특성에 영향을 받기 때문에 국내의 지진특성을 고려하여 단주기 특성을 갖는 구조물로 고유주기가 0.25초인 1자유도 모형구조물을 Fig. 2(b)와 같이 제작하여 모형실험에 적용하였다.
지반-말뚝-구조물 상호작용에 영향을 미치는 지진하중으로 입력 지진파는 국내의 지진특성을 고려하여 상부구조물의 고유주기와 동일한 고유주기를 갖는 Fig. 3과 같은 4Hz의 정현파를 모형실험에 적용하였으며, 지진하중은 최대가속도가 0.10g, 0.15g, 0.20g로 고유주파수는 고정시킨 상태에서 진폭을 선형적으로 증가시켜 모형실험에 적용하였다.
건조 모래지반의 상대밀도가 상부구조물을 지지하는 무리말뚝의 동적거동에 미치는 영향을 확인하기 위한 1g 진동대 모형실험은 Fig. 4와 같이 조성되도록 ①무리말뚝의 말뚝 선단을 모델박스의 바닥에 고정시켜 수평 및 수직변위가 발생하지 않도록 고정(Yang, 2009)시킨 후, ②모델박스에 소요 상대밀도가 되도록 모래를 10회에 나누어 투입하고 정적다짐을 수행하여 모형지반을 조성하였다. 모형지반 조성이 완료된 후 ③무리말뚝과 말뚝캡 및 상부구조물을 연결하고 입력 지진파를 적용하여 모형실험을 수행하였다. 모형실험은 상대밀도 별로 수행하였으며, 지반, 무리말뚝, 상부구조물의 동적거동을 확인하기 위한 계측기는 말뚝에는 변형율계, 말뚝 캡과 지반, 상부구조물에는 가속도계를 설치하여 모래지반의 상대밀도가 무리말뚝의 동적거동에 미치는 영향을 분석하였다.
2.2 말뚝의 휨모멘트 및 동적 p-y 곡선 산정
말뚝과 지반 사이의 동적 상호작용을 분석하기 위한 말뚝의 동적 p-y 곡선은 말뚝의 휨모멘트와 지반 가속도 계측자료를 이용하여 산정할 수 있다. 말뚝과 지반 사이의 반력 p는 Eq. (1)과 같이 말뚝 깊이에 따른 휨모멘트 분포 곡선을 2번 미분하여 얻어지며, 말뚝과 상대변위 ypile은 Eq. (2)와 같이 말뚝 깊이에 따른 휨모멘트 분포곡선을 2번 적분하여 산정할 수 있다. 말뚝의 깊이에 따른 휨모멘트 분포곡선은 말뚝 깊이 별로 측정된 변형율 데이터에 휨강성을 곱하여 모멘트로 변환시킨 후 3차 스플라인(Cubic spilne) 방법을 이용하여 구할 수 있다(Brandenberg et al., 2010; Haiderali & Madabhushi, 2016; Bao et al., 2018).
(1)
(2)
여기서, M(z)는 말뚝 깊이에 따른 모멘트 분포곡선이며, EI는 말뚝의 휨강성이다.
지반-말뚝-구조물의 상호작용은 상부구조물의 관성력에 지배를 받으며, 이러한 말뚝기초의 관성거동은 지반의 운동력과 다르게 나타난다(Kim et al., 2018; Suzuki et al., 2014). 이에 본 연구에서는 상부구조물의 최대가속도가 발생된 시점에서의 지반반력과 말뚝변위로 한정해 분석하였다(Lee et al., 2019).
3. 실험결과 및 분석
3.1 상대밀도에 따른 지반-말뚝-상부구조물 상호작용
모래지반에 설치된 상부구조물을 지지하는 무리말뚝에서, 지반, 말뚝캡, 상부구조물의 가속도 거동은 상대밀도와 관계없이 Fig. 5와 같이 입력지진파의 거동과 유사하게 나타났으나 최대가속도는 상대밀도에 따라 다르게 나타나 상대밀도에 따른 지반, 말뚝캡, 상부구조물에서의 최대가속도를 분석하기 위해 Fig. 7과 같이 상대밀도에 따른 지반, 말뚜캡, 상부구조물에서의 최대가속도를 비교하였다.
Fig. 6과 같이 상부구조물, 말뚝캡, 지반에서의 최대가속도는 입력지진파에 비해 상부구조물의 경우 4.61~5.15배, 말뚝캡의 경우 1.06~1.09배, 지반지표면의 경우 1.06~11.08배 증가하는 것으로 나타났다. 이는 Fig. 7과 같이 입력지진파와 동일한 고유주기 특성으로 인한 영향 때문인 것으로 보인다.
상대밀도에 따른 상부구조물에서의 최대가속도는 Fig. 6(a)와 같이 상대밀도가 40%인 경우를 기준으로 상대밀도가 증가하면 최대가속도는 2~6% 증가하는 것으로 나타났다. 이는 상대밀도에 따른 지반강성에 의한 구속효과의 영향으로 느슨한 지반의 경우 지반-말뚝-구조물 상호작용을 저감시키는 구속효과가 작게 나타난 반면, 조밀한 지반의 경우 구속효과가 크게 나타나 지반-말뚝-구조물의 상호작용을 저감시켜 말뚝을 통해 상부구조물로 전달되는 지진에너지의 소산이 감소되어 상부구조물의 가속도를 증가시킨 것으로 보인다.
말뚝캡에서의 최대가속도는 상부구조물의 경우와 반대로 상대밀도에 따라 상대밀도가 40%인 경우를 기준으로 상대밀도가 증가하면 최대가속도는 1~2% 감소하는 것으로 나타났다. 이는 지반에 근입된 말뚝캡과 상대밀도에 따른 지반강성에 의한 구속효과의 영향으로 지반에 근입된 말뚝캡은 주변지반에 의해 구속되고 상대밀도에 따른 지반강성의 증가로 인한 구속효과가 증가하여 말뚝캡에서의 최대가속도는 감소하는 것으로 보인다.
말뚝캡 인근 지반에서 상대밀도에 따른 최대가속도는 지진하중이 0.10g인 경우 상대밀도와 관계없이 동일하게 나타났으나 지진하중이 증가하면서 최대가속도는 상대밀도 40%인 경우를 기준으로 상대밀도가 증가하면 1~2% 감소하는 것으로 말뚝캡의 경우와 유사하게 나타났다. 지진하중이 작은 경우 지반-말뚝-구조물 상호작용이 인근 지반에 미치는 영향은 미소하나 지진하중이 증가하면서 지반-말뚝-구조물 상호작용이 인근 지반에 미치는 영향이 증가하고, 상대밀도에 따른 지반강성에 의한 구속효과로 인해 말뚝캡과 유사하게 지반에서 발생하는 최대가속도는 감소하는 것으로 보인다.
3.2 상대밀도에 따른 말뚝의 휨모멘트 거동
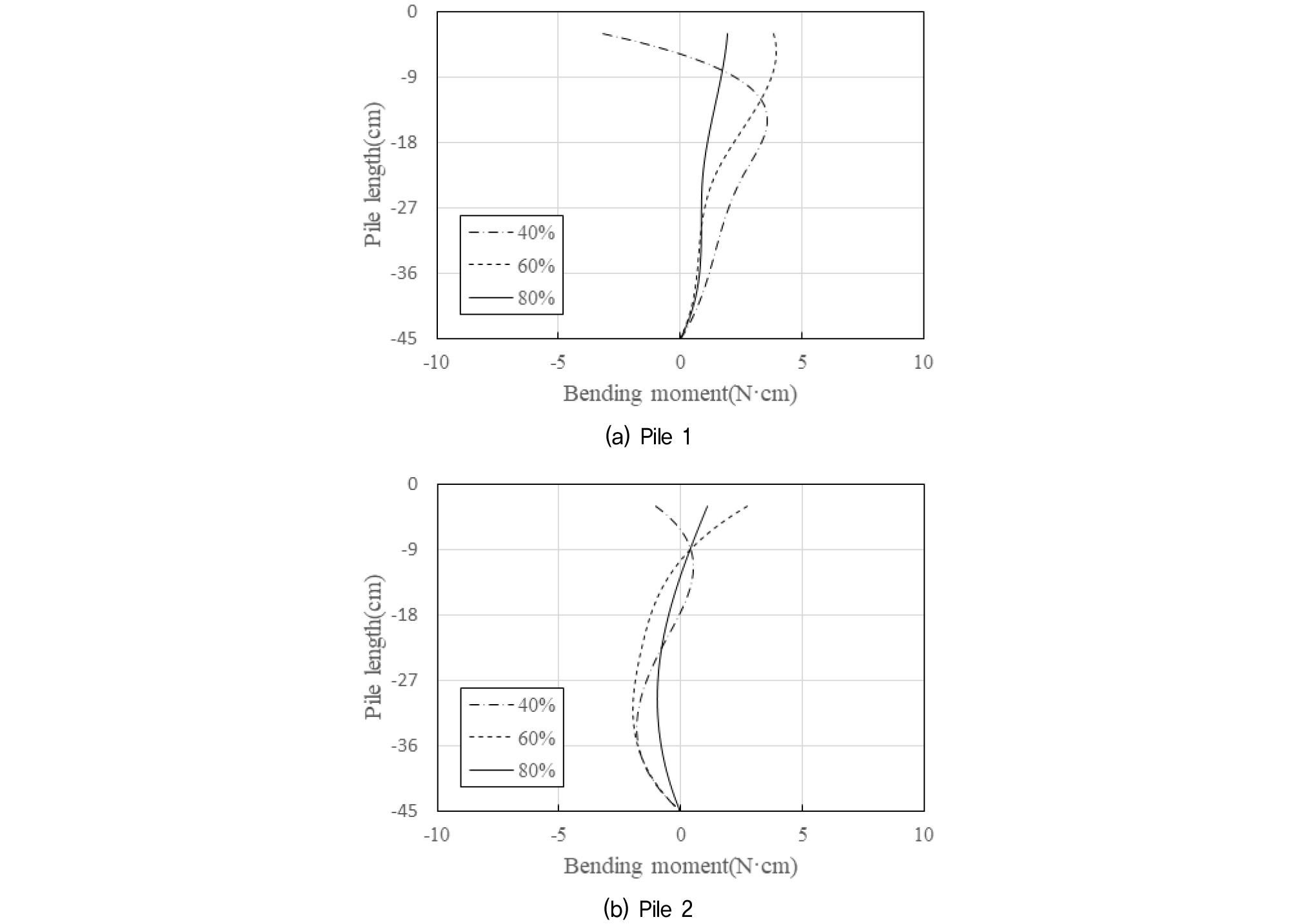
상대밀도가 무리말뚝의 동적거동에 미치는 영향을 확인하기 위해 말둑기초의 휨모멘트 분포를 확인하였다. 상부구조물을 지지하는 무리말뚝의 동적 거동은 상부구조물의 관성거동에 의한 영향이 크며(Yang, 2009), 상부구조물의 가속도는 지반의 상대밀도에 영향을 받는 것으로 확인됨에 따라 동일한 상부구조물의 관성력을 고려하기 위해 입력지진파가 0.15g인 조건에서 상부구조물의 가속도가 0.4g인 시점에 무리말뚝 내 Pile 1과 Pile 2에서 발생한 휨모멘트를 Fig. 8과 같이 상대밀도에 따라 비교하였다.
Fig. 8과 같이 무리말뚝 내 말뚝 위치에 따른 휨모멘트 분포는 다르게 나타났으며, Pile 1(Fig. 8(a))에서의 휨모멘트가 Pile 2(Fig. 8(b))에서의 휨모멘트에 비해 크게 나타났다. 이는 기존 연구와 유사하게 상부구조물의 관성거동 및 지반에 근입된 말뚝캡, 말뚝선단의 고정조건에 의한 말뚝캡 및 말뚝기초의 회전 때문인 것으로 보인다(Kim et al., 2018; Ahn, 2003). 동일한 상부구조물 가속도 조건에서 상대밀도에 따른 휨모멘트는 상대밀도가 80%, 60%, 40% 순서로 크게 나타났으며, 이는 상대밀도에 따른 지반강성에 의한 구속효과의 영향으로 상대밀도에 따른 지반강성에 의한 구속효과의 증가로 인해 상부구조물의 관성력에 의해 발생되는 말뚝기초의 변위를 억제하였기 때문인 것으로 보인다. 그리고, 상대밀도에 따른 최대휨모멘트 발생 위치는 상대밀도가 60% 및 80%인 지반에서는 말뚝 두부에서 발생한 반면, 상대밀도가 40%인 경우 최대 휨모멘트 발생 위치는 Pile 1(Fig. 6(a))에선 말뚝 내 14.8cm 깊이에서, Pile 2(Fig. 6(b))에선 말뚝 내 38.4cm 깊이에서 발생하는 것으로 나타났다. 이는 상대밀도에 따른 지반강성 차이에 의한 영향 때문인 것으로 보인다.
3.3 상대밀도에 따른 말뚝의 동적 p-y 거동
상대밀도가 말뚝과 지반 사이의 동적 상호작용에 미치는 영향을 분석하기 위한 p-y 곡선은 지표면으로부터 5.0D 깊이에 위치한 무리말뚝 내 Pile 1과 Pile 2에서 산정한 p-y 곡선을 지진하중 별로 상대밀도에 따라 Fig. 9 및 Fig. 10과 같이 비교하였다.
지진하중에 의한 p-y 곡선은 Fig. 9 및 Fig. 10과 같이 유사하게 나타났다. 이는 지진하중이 증가하면 지진하중에 의한 말뚝변위가 증가하고 더불어 지반반력도 증가하였기 때문인 것으로 보인다.
무리말뚝 내 말뚝 위치에 따른 동적 p-y 곡선의 크기는 휨모멘트 거동과 유사하게 Pile 1(Fig. 9)이 Pile 2(Fig. 10)의 경우에 비해 크게 나타났으나, 동적 p-y 곡선의 할선 기울기는 Pile 2가 Pile 1에 비해 1.01~2.20배 크게 나타났다. 이는 휨모멘트 거동과 유사하게 상부구조물의 관성거동 및 지반에 근입된 말뚝캡, 말뚝기초 선단의 고정조건에 의한 말뚝캡의 회전 및 말뚝기초의 회전으로 인한 구속효과 때문인 것으로 보인다(Ahn, 2003).
상대밀도에 따른 동적 p-y 곡선의 할선 기울기는 상대밀도에 영향을 받는 것으로 나타났다. 상대밀도 80%인 경우를 기준으로 상대밀도가 감소할수록 동적 p-y 곡선의 할선 기울기는 Pile 1(Fig. 9)의 경우 1.4~4.1배 증가하는 것으로 나타났으며, Pile 2(Fig. 10)의 경우 2.4~4.5배 증가하는 것으로 나타났다. 이는 기존 연구와 유사하게 상부구조물의 관성거동에 의한 말뚝의 수평방향 반복운동에 의한 영향으로 말뚝기초 주변의 느슨한 모래지반에서는 원지반에 비해 조밀해지는 반면, 조밀한 모래지반에서는 말뚝기초 주변 지반이 교란되어 지지능력이 감소하였기 때문인 것으로 보인다(Baek et al., 2016).
4. 결 론
모래지반의 상대밀도가 상부구조물을 지지하는 무리말뚝의 동적거동에 미치는 영향을 확인하기 위해 모래지반의 상대밀도를 40%, 60%, 80%로 변화시켜 1g 진동대 모형실험을 수행한 결과 다음과 같은 결론을 얻었다.
(1) 지반의 상대밀도가 증가하면 상부구조물의 최대가속도는 증가하나 말뚝캡 및 말뚝캡 인근 지반의 최대가속도는 감소하는 것으로 나타났다. 이는 상대밀도에 따른 지반강성에 의한 구속효과의 영향으로 상대밀도가 증가하면 지반강성에 의한 구속효과가 증가하여 지반-말뚝-구조물의 상호작용을 감소시키기 때문인 것으로 보인다.
(2) 상부구조물의 관성거동에 영향을 받는 무리말뚝 내 말뚝기초의 휨모멘트는 지반의 상대밀도가 감소함에 따라 크게 나타났으며, 최대휨모멘트 발생 위치는 상대밀도 80% 및 60%인 경우 말뚝 두부에서 발생하나, 상대밀도 40%인 경우는 말뚝 내에서 발생하는 것으로 나타났다. 이는 상대밀도에 따른 지반강성에 의한 구속효과의 영향으로 상대밀도가 증가하면 지반강성에 의한 구속효과가 증가하여 상부구조물의 관성력에 의해 발생되는 말뚝기초의 변위를 감소시키기 때문인 것으로 보인다.
(3) 지반의 상대밀도에 따른 말뚝과 지반의 상호작용을 확인하기 위한 동적 p-y 곡선의 할선 기울기는 지반의 상대밀도가 감소함에 따라 1.4~4.5배 증가하는 것으로 나타났다. 이는 Baek et al.(2016)이 확인한 결과와 유사하게 상부구조물의 관성거동에 의한 말뚝의 수평방향 반복운동으로 인해 말뚝기초 주변의 느슨한 지반에서는 원지반에 비해 조밀해지지만, 조밀한 모래지반에서는 지반이 교란되어 지지능력이 감소하기 때문인 것으로 판단된다.
(4)이와 같이 지반의 상대밀도에 따른 지반강성 차이는 지반-말뚝-구조물의 서로 다른 복잡한 메커니즘을 발생시켜 말뚝기초의 동적거동에 영향을 미치게 됨을 확인하였다. 그러나 대부분의 현장은 단일지층이 아닌 서로 다른 지층으로 구성되어 있어 서로 다른 상대밀도로 구성된 다층지반에 대한 연구가 필요할 것으로 보인다.












